首页 / ai资讯

元戎启行、毫末智行背后的投资人,对长城汽车爱恨两重天

发布时间:2025-11-30 21:31:25

文|高见pro

元戎启行与毫末智行,这两家同样在2019年驶入赛道的智驾公司,在2025年的这个冬天,走向了截然不同的命运岔路口。

在近日的广州车展上,元戎启行公布了一组令行业侧目的数字:搭载城市NOA系统的量产车累计交付已突破20万辆,在第三方供应商中单月市占率逼近40%。

元戎启行CEO周光表示,不仅要加快量产上车速度,还将推进Robotaxi、出海业务的布局。

一切迹象显示,这是一家正处于上升期的企业,步伐迅猛,战略清晰。

然而,同期的北京海淀,毫末智行的办公区,已是一片沉寂。

11月22日,一则全员通知宣告了公司的停滞:自11月24日起停工放假,复工未定,公司账户亦遭冻结。这并非毫无征兆,早在2024年,毫末智行就发生了大规模裁员与多位高管离职。

在此次危机中,迄今公司核心管理层并未发声,更让毫末这场停摆蒙上了一层浓重的不确定性。

从一级市场的角度,元戎启行、毫末智行背后的两拨投资人,境况同样迥异。

据天眼查,元戎启行融资节奏稳健,基本保持“一年一轮”的推进频率,至今完成6轮融资,累计融资金额超5亿美元。

元戎启行融资历程:

2019年的首轮融资中,近10家投资机构入场,阵容涵盖复星锐正、金沙江资本、云启资本、Ventech China、松禾资本,耀途资本,远望资本,七熹投资,贵邦投资等机构。

早期投资逻辑核心是押注人和技术。投资人提供启动资金,支持公司完成技术从0到1的验证。

据悉,元戎启行创始人周光曾在德州仪器的Kilby实验室主导自动驾驶机器人项目,并曾就职于百度美国研究院(Baidu USA)自动驾驶事业部。创始团队核心成员具有全球顶尖院校和研究机构背景。

进入到2020年A轮和2021年的B轮后,元戎启行的股东结构出现关键变化。

复星锐正、云启资本、耀途资本等老股东持续加码,阿里巴巴重磅入场。有投资人分析,“阿里投资大概率看重的是,元戎启行在自动驾驶物流车等场景的应用潜力”。

“国家队”富海中小企业发展基金的加入,体现了政策层面对硬科技公司的支持。

从B 轮开始,产业资本成为主角。东风汽车集团通过东风交银基金和东风资产连续两轮投资,信号极其明确。这表明元戎启行的技术获得了主流主机厂的认可。

对于东风来说,这也是在新一轮智能化竞争中锁定一家有潜力的技术供应商的举措。此阶段的投资不再是单纯的财务风险投资,而是具有明确产业协同目的的战略投资。

2024年,长城汽车在C轮入场,它不仅是投资者,更是元戎启行的大客户。这种“投资人 客户”的双重身份,意味着双方关系从甲乙方采购升级为深度协同的产业盟友。

长城通过投资可获得核心供应链的稳定和技术路线的协同;元戎启行则获得了稳定的订单、真实的场景数据和强大的产业盟友。

值得注意的是,在今年9、10月份,元戎启行的投资人已集体“退出”持股。

公司持股情况:

来源天眼查

“股权变动或为公司搭建红筹架构做准备。”有知情人士透露,搭建“红筹架构”是中国企业谋求境外上市的标准操作。

“收回所有股份”是这个过程中的关键一步,意将分散在原有境内股东手中的股权,统一平移至新设立的境外架构中,以满足上市监管要求。

可结合来看的是,自动驾驶进入“交付为王”的理性期。元戎启行在2025年交付量显著提升,为其上市准备提供了有力支撑。

显然,此次投资人的集体“退出”并非看空,而是元戎启行冲刺资本市场的一个积极信号。

毫末智行自成立至今完成7轮融资。股东阵容变化清晰地分为两个阶段。

毫末智行融资历程:

在2021-2022年这一阶段,毫末智行的股东阵容兼具产业、财务和战略视角。

长城汽车既是孵化者,也是核心客户,提供了毫末的业务基本盘和初始估值锚点。高瓴的连续下注向市场表明了头部投资机构对毫末技术路线潜力的认可。

美团的加入则带来了无人配送的巨大想象空间,这也意味着毫末的技术在外部看来有望突破车载场景,应用在更广阔的领域。首程、首钢国资的进入,则象征地方资源和政策支持。

这一阶段的投资人们相信毫末能将其在长城汽车上验证的模式,成功复制到更广阔的的外部市场,成为一个独立的、强大的自动驾驶Tier 1供应商。

但进入2024年后,颓势开始显现。B、B 、B 轮看似融资节奏稳定推进,但融资额和股东背景和之前相比有了迥异变化。

武侯发展、张家港金茂创投等地方性国资陆续入场。一般来说,地方性国资通常带有产业落地、招商引资的属性,其财务回报诉求低于市场化基金。

而高瓴、美团等明星股东不再继续加码,从侧面释放出不再看好其成长故事和独立发展前景的信号。

这一阶段的毫末,城市NOH功能落地缓慢,商业化受阻,在行业转向“无图”的浪潮中逐渐落后。主流资本用脚投票,毫末的技术竞争力未达预期,商业模式和独立生存能力开始受到资本市场的质疑。

毫末智行作为长城汽车孵化的自动驾驶技术子公司‌,前身为长城汽车‌智能驾驶前瞻部,于2019年11月独立运营。

最关键的一击是,尽管毫末目前的实控人仍为魏建军,但长城汽车自身面临市场压力,不仅没继续加注毫末,反而转身投资了毫末竞争对手元戎启行。这相当于抽掉了毫末生存的基石。

从本质上看,毫末智行作为“依附式创业公司”,在资本市场上的估值,最终取决于其能否摆脱对母公司的单一依赖,建立起真正可持续的外部竞争力和商业模式。

但显然,毫末智行未能做到。

早期,明星资本赌的是它能“走出去”;后期,当事实证明它无法走出长城汽车的温室,且自身技术路线又显疲态时,股东名单从“众星捧月”到“门可罗雀”并不意外。

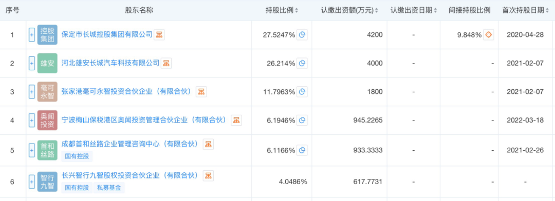
目前长城汽车仍为毫末智行的大股东,通过“保定市长城控股集团有限公司”和“河北雄安长城汽车科技有限公司”直接和间接共持股63.59%。

来源:天眼查,数据日期2025年11月29日

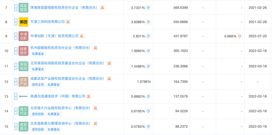
首程控股共持股8.02%,天壹资本和九智资本分别持股6.2%和6.05%。高瓴持股5.28%,美团战投和中银投资分别持股3.6%和3.5%。

来源:天眼查,数据日期2025年11月29日

毫末智行行至此,投资人对退出的期待放在了回购上。

“投资人希望控股方能够按照毫末高光时的10亿美元估值进行回购,但对方认为必须正视公司经营现状,进行重新评估。”投资人王明透露,在毫末智行“出事”前,有投资人和控股股东长城方沟通回购股份事项,但在回购价格上双方分歧较大。

这笔“账”该如何计算,目前仍是双方僵持不下的结节。

(文中王明为化名。)

免责声明:本文为转载,非本网原创内容,不代表本网观点。其原创性以及文中陈述文字和内容未经本站证实,对本文以及其中全部或者部分内容、文字的真实性、完整性、及时性本站不作任何保证或承诺,请读者仅作参考,并请自行核实相关内容。

如有疑问请发送邮件至:bangqikeconnect@gmail.com